Классификация способов бурения на нефть и газ приведена на рис. 2.
По способу воздействия на горные породы различают механическое и немеханическое бурение. При механическом бурении буровой инструмент непосредственно воздействует на горную породу, разрушая ее, а при немеханическом разрушение происходит без непосредственного контакта с породой источника воздействия на нее. Немеханические способы (гидравлический, термический, электрофизический) находятся в стадии разработки и для бурения нефтяных и газовых скважин в настоящее время не применяются.
Механические способы бурения подразделяются на ударное и вращательное.
Рис. 2. Классификация способов бурения скважин на нефть и газ
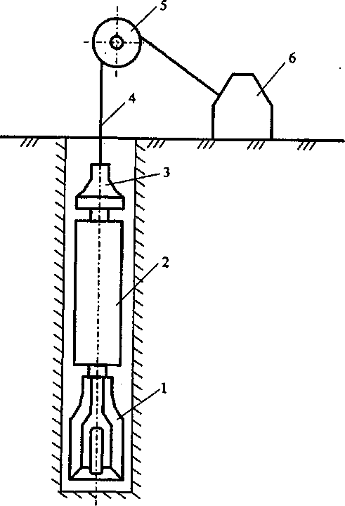
При ударном бурении разрушение горных пород производится долотом 1, подвешенным на канате (рис. 3). Буровой инструмент включает также ударную штангу 2 и канатный замок 3. Он подвешивается на канате 4, который перекинут через блок 5, установленный на какой-либо мачте (условно не показана). Возвратно-поступательное движение бурового инструмента обеспечивает буровой станок 6.
Рис. 3. Схема ударного бурения:
1 — долото; 2 — ударная штанга; 3 — канатный замок;
4 — канат; 5 — блок; 6 — буровой станок.
По мере углубления скважины канат удлиняют. Цилиндричность скважины обеспечивается поворотом долота во время работы.
Для очистки забоя от разрушенной породы буровой инструмент периодически извлекают из скважины, а в нее опускают желонку, похожую на длинное ведро с клапаном в дне. При погружении желонки в смесь из жидкости (пластовой или наливаемой сверху) и разбуренных частиц породы клапан открывается и желонка заполняется этой смесью. При подъеме желонки клапан закрывается и смесь извлекается наверх.
По завершении очистки забоя в скважину вновь опускается буровой инструмент и бурение продолжается.
Во избежание обрушения стенок скважины в нее спускают обсадную трубу, длину которой наращивают по мере углубления забоя.
В настоящее время при бурении нефтяных и газовых скважин ударное бурение в нашей стране не применяют.
Нефтяные и газовые скважины сооружаются методом вращательного бурения. При данном способе породы дробятся не ударами, а разрушаются вращающимся долотом, на которое действует осевая нагрузка. Крутящий момент передается на долото или с поверхности от вращателя (ротора) через колонну бурильных труб (роторное бурение) или от забойного двигателя (турбобура, электробура, винтового двигателя), установленного непосредственно над долотом.
Турбобур — это гидравлическая турбина, приводимая во вращение с помощью нагнетаемой в скважину промывочной жидкости. Электробур представляет собой электродвигатель, защищенный от проникновения жидкости, питание к которому подается по кабелю с поверхности. Винтовой двигатель — это разновидность забойной гидравлической машины, в которой для преобразования энергии потока промывочной жидкости в механическую энергию вращательного движения использован винтовой механизм.
По характеру разрушения горных пород на забое различают сплошное и колонковое бурение. При сплошном бурении разрушение пород производится по всей площади забоя. Колонковое бурение предусматривает разрушение пород только по кольцу с целью извлечения керна — цилиндрического образца горных пород на всей или на части длины скважины. С помощью отбора кернов изучают свойства, состав и строение горных пород, а также состав и свойства насыщающего породу флюида.
Все буровые долота классифицируются на три типа:
- долота режуще-скалывающего действия, разрушающие породу лопастями (лопастные долота);
- долота дробяще-скалывающего действия, разрушающие породу зубьями, расположенными на шарошках (шарошечные долота);
- долота режуще-истирающего действия, разрушающие породу алмазными зернами или твердосплавными штырями, которые расположены в торцевой части долота (алмазные и твердосплавные долота).

МБУ-125
Агрегат АР32/40М
УРБ-3А3
1БА15
Агрегат АР60
МБУ-160
МБУ-140
Вертлюг БА15-33Г
Вертлюг БУ-50БР-16СБ
Вертлюг АР-60
Вертлюг ВП-50/60
Вертлюг ВБ-80, ВБ-125
Вертлюг ВЭ-50, ВЭ-60, ВЭ-80, ВЭ-100
Ключ стопорный КСМ
АПР2-ВБМ
Ключ КШЭ
ПКР-125х560
АПР2-ГП
Ключ КЦН
Спайдер СПГ
Ключ КОТ
Ключ КТГУ
Ключ КМУ
Ключ КМБ
Ключ ПБК-4
Ключ ГКШ-1200
Ключ КПТ
Ключ КБГ-2
Ключ Oil Country
АКБ-4
БНМ-16
Агрегат АР50
АНБ-22
АРБ-100
НБ-125
ЦА-320
НЦ-320
УНБТ-950
НБ-32
НЦ-320
НБ-50
ЭХЛ
ЭШН
ЭТА-50П
КМ
Гидроротор Р-250
Ротор РУП-560
Гидроротор А50
Ротор 410
Ротор РУ80х400
Ротор 250
Обсадная труба ГОСТ 633-80
Бурильная труба
Труба НКТ
Труба НКТ (б/у)






